Cercleuse de palettes verticale entièrement automatique
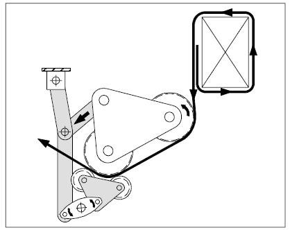
Principaux composants de la cercleuse verticale
1. Châssis de base de la machine avec deux colonnes et traverse, guides de chariot verticaux et chaînes
2. Module rack, mobile entre deux colonnes avec système de guidage chariot
3. Entraînement du chariot avec motoréducteur-frein
4. Châssis de rail à sangle (goulotte) en profilés d'aluminium rainurés et fixé au châssis de la machine,
rabats courts à ressort pour permettre l'alimentation de la sangle à n'importe quelle hauteur
5. Système de lance, pour appliquer la sangle à travers le vide de la palette, hauteur de section 80 mm
6. Connexions à la tête de cerclage avec égaliseur de tension de feuillard
7. Manipulation de la cercleuse verticale par panneau de commande, état de la machine affiché par Cyklop Touchpanel taille 7“, écran couleur.
Données techniques de Cercleuse verticale automatique pour palettes
1. alimentation : 3/ n, pe, (fil neutre = capacité de charge)
2. tension de commande : 24 V cc
3. score de puissance : max trois.zéro kw
4. poids total de l'appareil : env. 800 à 1.000 kg
5. limite de température ambiante : + cinq °c jusqu'à + 35 °c
6. crête du système de convoyeur : rouleau latéral pinacle / chaîne de la machine de convoyage min. 180 mm jusqu'à max. 800mm

Données techniques de Cercleuse de palettes verticale entièrement automatique
KA5 |
||
Qualité et largeur du bracelet |
||
ANIMAL DE COMPAGNIE |
9,0 - 18,5 millimètres |
|
polypropylène |
/ |
|
Bobine de sangle |
||
Diamètre du noyau |
406 millimètres |
|
Diamètre extérieur |
600 millimètres |
|
Largeur |
150 millimètres |
|
Nbre de boucles |
7 |
|
Rangement des sangles |
15 mètres |
|
Force de décollage de la sangle |
ce. 5N |
|
Séquence de fonctionnement :
1. Le colis est convoyé de manière centralisée dans la position de cerclage.
2. Un signal sans tension est transmis du système de contrôle du client à la cercleuse verticale.
3. Fermeture du cadre du rail de sangle (goulotte) en déplaçant le système de lance vers l'avant.
4. Le module de rack avec la tête de cerclage se déplace vers le bas sur la surface de l'emballage. Le la sangle est alimentée autour de la piste.
5. Le cycle de cerclage démarre. La sangle est retirée, tendue, scellée et coupée. Ouverture du cadre de la piste de sangle (goulotte) en reculant le système de lance. Le module rack avec tête de cerclage revient en position de base.
Si tel est le cas, transportez le colis dans la position de cerclage suivante et répétez la procédure de cerclage.
Une fois le programme terminé, la machine renvoie un signal sans tension au système de commande du convoyeur pour transporter la charge hors de la machine.
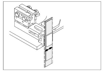
Principaux composants de la tête de cerclage
1 unité de tension
2 Cassette de scellement
3 prises
4 Engrenage tendeur
5 Barre à bascule
6 roues de tension
L'unité de tension et l'entraînement d'alimentation-rétraction tendent la sangle. Avec l'augmentation de la tension, la barre basculante (levier) se soulève.
La biellette et le levier de pression compriment les galets tendeurs. La haute tension est alors appliquée par l'embrayage de tension uniquement.
Les extrémités du feuillard sont pressées et frottées l'une contre l'autre jusqu'à ce qu'une température soit atteinte qui assure une bonne soudure.
Panneau de commande:
Position: Libre choix dans la longueur des jeux de câbles de 5 m
Dimensions: Hauteur: 1.060 mm, y compris la base de l'armoire 1 060
Largeur: 600 millimètres
Profondeur: 480 millimètres
Normes : suivant VDE 0100/0113, EN 60204, classe de protection IP 54
Interfaçage avec le système de contrôle Cyklop par des signaux libres de potentiel
PLC : Siemens S7
État de la machine affiché par l'écran tactile
Caractéristiques générales de la tête de cerclage CF H1 :
Données techniques
1. Qualité du bracelet : ANIMAL DE COMPAGNIE
2. Largeur du bracelet : 12,0 mm à 19 millimètre
3. Epaisseur du bracelet : > 0,58 mm à 1,12 mm
4. Vitesse d'alimentation et d'enroulement du feuillard : 2,9 m/sec.
5. Type de scellement : Soudure par friction
6. Temps de scellage : environ. 1,5 s. jusqu'à 2 sec. (Selon la sangle et la tension)
7. Force de tension : 200 jusqu'à 5.500 (Temps de scellage Nombre de tension à plusieurs étages :
8. largeur du colis : 80 millimètres
9. Centre de sangle asymétrique 35 mm / 237 mm
dix. Source de courant: 3/ N, PE, (Fil neutre = capacité de charge)
11. Puissance nominale : 1,0kW
12. Tension de commande : :24 Vcc
13. Lester: 79 kilogrammes
14. Peinture : RAL 7035
Plus d'informations, veuillez nous parler à tout moment.
Guerre
Whatsapp:+86 15634865861








